|
Реклама
|
Акустическая колонка своими руками: Формирователь двухполосного сигнала.
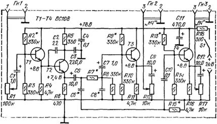
- На рисунке приведена принципиальная схема формирователя двухполосиого сигнала на четырех высокочастотных малошумящих транзисторах. В зависимости от соотношения сопротивлений резисторов R7, R15, конденсаторов С8, С6 частота разделения полос может находиться в пределах 105—8670 Гц. При этом крутизна спадов характеристик на частотах раздела составляет 12 дБ на октаву.
-

- Устройство формирователя несложно. Транзистор 77, к базе которого подводится исходный широкополосный сигнал через гнездо Гн1, работает в режиме эмиттериого повторителя. Транзистор Т2 включен по схеме с разделенной нагрузкой. Напряжение широкополосного сигнала, снимаемое с эмиттера транзистора Т2, подается па разделительный фильтр, собранный на резисторах R7, R15 и конденсаторах С6, С8. Частоты, лежащие выше частоты разделения, снимаются с резистора R15 и через конденсатор С10 подаются на базу эмиттерно-го повторителя на транзисторе Т4; далее с движка регулятора уровня верхних частот (резистора R17) поступают на гнездо ГнЗ «ВЧ». Колебания с частотой ниже частоты разделения снимаются с конденсатора С8, поступают на базу транзистора ТЗ, включенного по схеме эмиттерного повторителя, откуда подаются через регулятор уровня нижних частот (переменный резистор R12) к выходному гнезду Гн2 «НЧ». Регулировка уровня широкополосного сигнала на входе формирователя осуществляется переменным резистором R1 группы В.
- При повторении конструкции можно использовать транзисторы типа КТ315Б, КТ315Г, КТ315Е. Гнезда Гн1—ГнЗ типа СГ-3. Для подбора сопротивлений резисторов R7, R15 и емкостей конденсаторов С6, С8, определяющих требуемое значение частот, необходимо пользоваться данными табл. 5.
-
| сопротивление резистора кОм |
Емкость конденсатора, мкФ |
| 0,33 |
0,22 |
0,10 |
0,068 |
0,047 |
0,033 |
0,022 |
0,022 |
6800 пф |
| 2,7 |
180 |
270 |
590 |
865 |
1250 |
1790 |
2680 |
5890 |
8670 |
| 3,0 |
160 |
240 |
530 |
780 |
1130 |
1610 |
2410 |
5300 |
7800 |
| 3,3 |
145 |
220 |
480 |
710 |
1030 |
1460 |
2190 |
4820 |
1090 |
| 3,6 |
134 |
200 |
440 |
650 |
940 |
1340 |
2000 |
4420 |
6500 |
| 3,9 |
125 |
185 |
410 |
600 |
870 |
1240 |
1850 |
4080 |
6000 |
| 4,3 |
110 |
170 |
370 |
545 |
790 |
1120 |
1680 |
3700 |
5440 |
| 4,4 |
105 |
155 |
340 |
500 |
720 |
1030 |
1540 |
3390 |
4980 |
| 5,1 |
- |
140 |
310 |
460 |
660 |
950 |
1420 |
3120 |
4590 |
| 5,6 |
- |
130 |
285 |
420 |
600 |
860 |
1290 |
2840 |
4280 |
| 6,2 |
- |
115 |
255 |
375 |
500 |
710 |
1160 |
2540 |
3440 |
| 6,8 |
- |
105 |
255 |
345 |
550 |
710 |
1060 |
2340 |
3440 |
- Налаживание формирователя сводится к проверке постоянных напряжений на эмиттерах транзисторов относительно общего провода. При отклонениях более ±10% необходимо подобрать сопротивление резистора, обозначенного на схеме рисунке звездочкой.
- В заключение следует добавить, что для полной реализации возможностей двух- и трехполосных установок необходимо иметь соответственно по два и три полосовых усилителя с громкоговорителями на каждый канал звуковоспроизведения Для стереофонических установок общее число усилителей й громкоговорителей удваивается.
-
Если вам понравился
наш сайт
сообщите о нем
своему другу:
|
|